对于有效的阻抗测量,所研究的系统应该是线性的、稳定的、因果的和平稳的。EC-Lab的THD质量指示器可用于测试系统的线性度。
这里的平稳性意味着两个不同的东西:稳态和时间不变性。
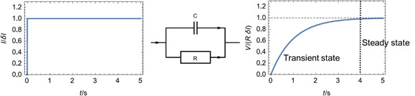
稳态是指系统不处于瞬态的状态。例如,具有一定时间常数的R/C电路被施加到电位或电流阶跃。在达到稳定状态后,其响应将随时间变化(图1)。
图1:R/C电路(中间)对电流阶跃(左)的电位响应(右),说明系统的稳态。
时间方差是定义其传递函数的参数随时间变化的系统的性质。例如,极化电阻随时间变化的腐蚀电极,无论是由于腐蚀还是钝化,都是时变系统。放电电池在放电过程中也会看到其各种电阻(电荷转移、扩散)的变化(图2)。有时稳态和时间不变性很难区分。
图2:运行中的电池是一个时变系统。
瞬态或时间变化对EIS测量的影响通常在较低的频率下可见,因为变化通常比EIS中使用的高频慢,例如从1MHz到10Hz。当测量时间长到足以捕捉时间方差时,就会看到其影响。在腐蚀电极的极化电阻发生变化的情况下,在1Hz左右或低于1Hz的频率下可以看到这种影响。结果是低频的数据变形了,如图3所示。

图3:耐候钢样品(未披露成分)在0.1M H2SO4溶液中的Nyquist图谱
在图3中,低于32mHz的数据是由于系统的极化电阻随时间的变化而引起的。如图4所示的非平稳变形(NSD)系数所示,阻抗数据似乎从1.1Hz开始受到稳态和时变效应的影响,因为它是NSD增加的频率。在32mHz时,NSD的值小到0.58%,并且可以在图3中看到,这样的小值可以代表阻抗图的剧烈变形。
图4:图3所示的EIS测量电流响应的非平稳变形(NSD)
(低于1.1赫兹时,NSD开始增加)
解决这个问题的一个简单方法是在EC-Lab中使用一个名为Z Inst的工具(EC-Lab软件下Analysis→Electrochemical Impedance Spectroscopy→Z inst),它实现了Z. Stoynov和B. Savoya[1]发现的一个方法。该方法的基本步骤如下:
1) 在一个随时间变化的系统上,按顺序获得若干阻抗图(图5a);
2) 阻抗数据被绘制为时间的函数(图5b);
3) 相同频率的数据被连接和插值;
4) 得到一个阻抗面;
5) 通过选择隧道的横截面,可以得到瞬时阻抗数据(图5c、5d)。
图5:a)腐蚀电极的Nyquist图表示的连续阻抗图;b)作为时间函数的相应3D显示;c)由20个横截面的“Z Inst”工具获得的瞬时阻抗的Nyquist图;d)作为时间函数的相应3D显示
图5c和5d中所示的阻抗图可以认为是从腐蚀电极的时间变化和极化电阻的变化来修正的。ZFit可用于确定所有相关参数,如双电层电容Cdl、电荷转移电阻Rct和低频极限极化电阻Rp。应该注意的是,大多数阻抗图在低频时都有一个感应部分,这表明质子的还原反应涉及一个吸附步骤[2]。
参考文献
[1] Z. Stoynov, B. Savoya, J. Electroanal. Chem. 112 (1980) p. 157
[2] J.-P. Diard, P. Landaud, B. Le Gorrec, C. Montella, J. Electroanal. Chem. 255 (1988) p. 1
(https://www.biologic.net/topics/how-to-check-and-correct-the-time-variance-of-your-system-under-eis-measurements/)